操作歷程追蹤:系統稽核與使用者活動紀錄
Liferay對於使用者管理、操作系統上,提供深度的活動追蹤紀錄,完整掌握各項活動,包含:
- 系統紀錄 System Logging
- 系統稽核 System Auditing
- 使用者監控:使用者拜訪網址、登入登出
- 使用者活動紀錄 User Activities
以下說明2種重要紀錄:系統稽核、使用者活動:
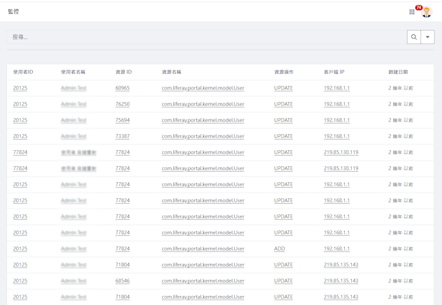
一、系統稽核 System Auditing
「系統稽核」主要在追蹤系統平台的基礎資料的管理工作事件,包含組織、使用者、角色、群組,通常是系統管理員負責的工作任務,紀錄內容包括操作人員、操作時間、動作類型(ADD / UPDATE / DELETE)、資源名稱ID、來源 IP 等欄位,讓管理者可以清楚掌握「誰,在什麼時間,對哪一筆資料做了什麼事」。
在操作面上,管理者除了透過系統管理後臺,進入稽核畫面,利用關鍵字與篩選條件查詢特定物件的歷史紀錄,點選某一筆紀錄後,還能看到更詳細的變更內容與欄位差異,對於問題追蹤、異常調查與權責釐清非常實用。同時,Liferay 也提供 REST API,您可以在 GET 呼叫中直接從程式端取得某一筆 Object Entry 的完整異動歷程,用於內部系統整合或自行打造稽核報表。Liferay
這項功能特別適合金融、製造、政府機關等重視稽核軌跡與法遵要求的情境,不必額外開發,就能在平台層級保留完整變更歷史。搭配 Liferay 權限框架,只有具備「檢視」及「物件項目歷史」權限的角色才能查看詳細紀錄,兼顧透明度與資訊安全。整體而言,「系統稽核」是一套即開即用、可透過介面與 API 雙軌使用的審計機制,能有效提升系統可追溯性與內控能力。

二、使用者活動紀錄 / User Activities
「使用者活動紀錄」是透過紀錄查詢呈現站台內動態的一個元件,它會彙整網站中各種「社交式操作」的軌跡,例如張貼討論區文章、回覆留言、建立或更新 Wiki 頁面、上傳檔案、對內容評分等,並以時間軸列表形式顯示在頁面上。每一筆活動紀錄通常會包含使用者名稱、所操作的資產類型與標題、發生時間,點擊使用者可以連到個人檔案頁,點擊資產則會直接導到該內容所在的頁面,讓管理者或一般使用者一眼就能掌握「最近大家在這個站點做了哪些事」。
景佳提供了使用者活動紀錄的友善查詢工具,,可以善用這個元件,將其定位為「站內活動看板」,提供簡潔的使用者行為總覽;若規劃長期演進,則可考慮日後以自訂報表、通知中心或整合分析平台等方式,承接與延伸這類「使用者活動紀錄」的需求。
實務上,例如文件中心,每個資料夾、文件的操作動作,都會被儒時記錄,提供管理人員追蹤目標內容異動歷程。
